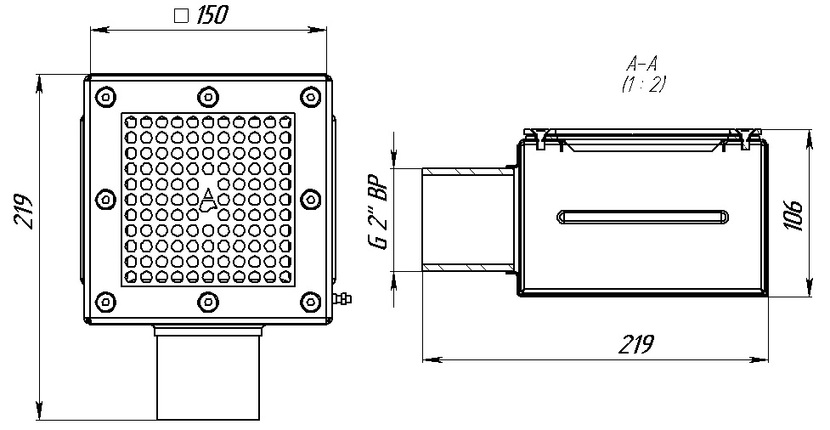
Донный слив 150х150 для пленочного бассейна .
Присоединение - внутренняя резьба 2". Комплектуется прижимным фланцем, уплотняющей прокладкой и винтами.
Компания Аквасектор оставляет за собой право вносить изменения в конструкцию изделия.

Подходит для плёночного бассейна