Применяется в бассейнах с широким бортом: декорированных искусственным камнем, стеклопластиковых (кокполиэстеровых) бассейнах и т.п.
Служит для забора верхнего слоя воды, подачи ее к фильтровальной установке и последующей очистки.
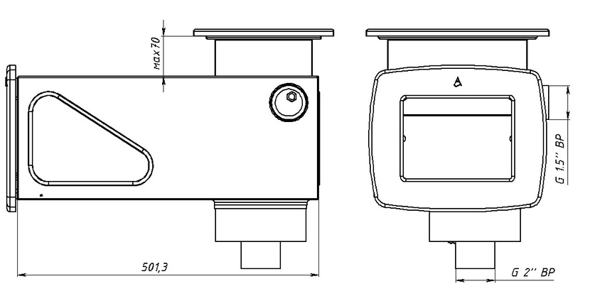
Максимальная площадь обрабатываемой поверхности – 25 м2.
Комплектуется фильтром грубой очистки - корзиной из нержавеющей стали; аварийным переливом; плавающим поплавком-заслонкой; прижимной рамкой и удлиненной горловиной крышки.
Монтируется в стену. Присоединение к фильтру - внутренняя резьба G 2’’ BР, к аварийному переливу - внутренняя резьба G 1,5" ВР.
Компания Аквасектор оставляет за собой право вносить изменения в конструкцию изделия.
- 
                    
                         К плиточным и плёночным бассейнам К плиточным и плёночным бассейнам
- 
                    
                         Сталь AISI 316 Сталь AISI 316
 
             
             
                     
         
                     
                     
     
     
    